一、事项名称:我要申请残疾人危房改造补助
二、受理对象:贫困残疾人家庭
三、申请材料
除特别说明之外,材料均为一式一份。
1、居民身份证(复印件)
2、户口本(复印件)
3、残疾人证(原件)
4、农村危房改造申请书(原件)
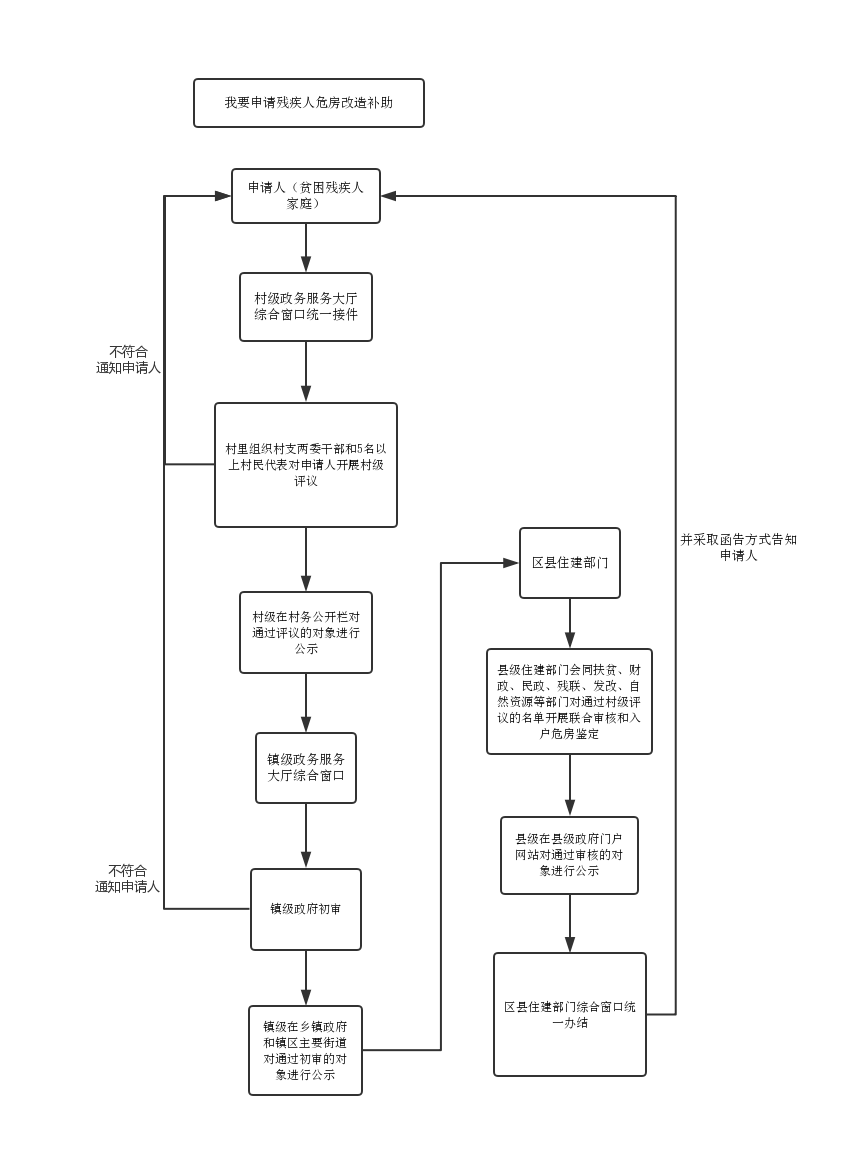
四、办事指南流程图

五、办结时限(45个工作日)
审批时限为45个工作日(另:三级公示21天)
六、办理层级
村、乡镇、县级
七、收费依据及标准
不收费。
八、结果送达
自核准之日起2日内送达
送达方式:现场自取、快递送达
九、咨询电话:
市政务中心:0746-8533271、8533270
冷水滩区政务中心:0746-8219575(导办台)、0746-8360991(市场主体设立)0746-8416689(食品药品)
零陵区政务中心:0746-6332118,6332117
祁阳县政务中心:0746-3263666
东安县政务中心:0746-4239377
双牌县政务中心:0746-7726211
道县政务中心:0746-5216066
宁远县政务中心:0746-7236385
新田县政务中心:0746-4718332
蓝山县政务中心:0746-2219320
江永县政务中心:0746-5755405
江华县政务中心:0746-2332361
金洞管理区政务中心:0746-3858179
回龙圩管理区政务中心:0746-5911003
永州经开区政务中心:0746-8229117
十、监督投诉渠道:
投诉电话:0746-12345
网上投诉:0746-12345
十一、办公地址和时间
办理地址:
市政务中心:冷水滩区逸云路1号。
冷水滩区政务中心:湖南省永州市冷水滩区九嶷大道与湖塘路交叉路口,冷水滩区中小企业创新创业园一楼。
零陵区政务中心:零陵区萍洲中路100号(二楼“一件事一次办”综合窗口)。
祁阳县政务中心:祁阳县浯溪街道办事处灯塔路1号。
东安县政务中心:东安县白牙市镇车站路133号。
双牌县政务中心:双牌县泷泊镇双电路新人社大楼5楼。
道县政务中心:道县道州北路工业大道1号。
宁远县政务中心:湖南省永州市宁远县印山中路88号宁远县政府大院宁远县政务服务中心。
新田县政务中心:新田县龙泉镇龙泉路108号。
蓝山县政务中心:蓝山县工业园科技路标准厂房二栋。
江永县政务中心:千家峒路27号(县委政府大院内)。
江华县政务中心:湖南省永州市江华瑶族自治县沱江镇阳华路146号。
金洞管理区政务中心:金洞镇人岭街5号。
回龙圩管理区政务中心:湖南省江永县回龙圩镇回龙圩管理区办公楼政务服务中心。
永州经开区政务中心:永州经开发区中小企业创业园(潇湘科技创新中心)一楼政务大厅“一件事一次办”3、4号窗口。
备注:冷水滩区、零陵区、永州经济技术开发区各市场监管所均可办理。
办理时间:
上午:9:00---12:00,下午13:00---17:00

继续访问